国产25瓦扩音机
1970/01/01 19:07 点击:1154 / 回复:0
陈治
这里介绍的一种扩音机,是天津广播器材厂的出品,它很适合于一般合作社或其他需要小电力扩音设备的单位使用。本文除介绍它的主要规格和线路概要外,并将它的几部分比较特殊的线路,作简单说明。
主要规格
用途——演讲,播送唱片,收听无线电广播。
频率范围——550—1600千周。
音频功率输出——25瓦,失真不大于6%。
输出阻抗——4、6、8和16,256Ω。
电源——交流220或110伏,50—60周。
电力消耗——163瓦。
电子管:V1——6SL7(6H9C),V2—6SJ7(6Ж8),V3——6SL7(6H9C),V4——6L6两只(6 П3),V5——6SA7(6A7),V6——6B8(6Б8C),V7——5U4G。
线路概述
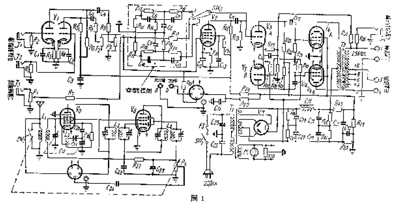
电子管V1是两只高阻抗微音器的放大器(见图1),两微音器的音量分别由音量控制器P2和P3控制。V2是拾音器放大级,也是微音器的第2放大级和收音机的第1低放级,装有音调控制。拾音器的音量由P1控制。V3的第1部分A担任功率放大级的推动级,第2部分B充当倒相器,以代替输入变压器。V4AV4B是甲乙类功率放大级T2次级附有监听插口J4,在V3和V4间有负回授装置。V5担任变频,V6担任中放和检波兼自动音量控制,这两管和一般超外差式收音机相同。收音机的音量由P4控制。当不须收听时,可用附在P4上的开关SW2把天地线圈短路,防止了它对扩音机的干扰。V7担任整流。

两个微音器,一个拾音器和一个收音机可以同时使用,或任意选用其中的一个或几个,由P1P4分别控制。
图2是机内面板上零件的位置图。

音调控制
根据图3电桥的原理,当1、2端接音频输入电路,3、4端接音频输出电路时,如果χ=6.28fC= R,3、 4两端就没有f频率的输出。
倒相器
倒相器的作用,不仅可代替推挽放大级的输入变压器,而且它的频率响应比变压器均匀,所以失真较小。
倒相的原理是由于同一电子管的屏极输出交流电压和它的栅极输入交流电压的相位变化永远是相反的,所以它能够代替输入变压器,推动推挽式放大器的另一边。
一般的倒相级有一个缺点,就是当它的两边输出电压不相等(由于两边的电子管或电阻不完全相等)时,使推挽级的输出失真。这架机器采用了自动平衡倒相器的线路,因此,没有这个缺点,能够自动地保持平衡状态。
在图1中,倒相管V3B的栅极和R31、R32的公共点联接,倒相管栅压的变化是由两臂(R29、R30)的工作情况决定的。假若V3B因某种原因而输出减小,R29上的电压就比R30上的电压小,引起R31和R32上电压的重新分配,使V3B的栅压增高。结果R29上的电压就增大,自动的使V3管A、B两部分的输出达到平衡。
采用负回授在下列优点:1.减小由放大器产生的失真;2.使频率响应均匀;3.在同样功率放大管和同样的失真率,输出功率可以增加很多;4.减小交流哼声;5.当负荷减小时,输出电压变化不大,故不致打穿输出变压器。
负回授
负回授的方法不外把音频放大器输出的音频电压的一部分,回授到它的输入电路里,回授的相位必须使回授的电压和输入电压相反(如果相位相同,就成了再生电路,会使失真更大,甚至引起自振)。上述的优点只对被负回授控制的各级有效。
这里,负回授电压是从输出变压器T2的次级接出,经分压器R34、R28回授到V3的阴极上(见图4),回授电压约等于T2次级电压的1/200,它和V3A的自给偏压一同加到V3A的栅极上,所以V3A和V4A都被负回授所控制。图中E1是V3A的输入音频电压,E2是T2次级输出的音频电压,E3是回授的音频电压, E4是送到V3A管的栅阴极间的音频电压,也就是E1- E3。

假设V3A和T4A总的电压增益是200,则当E4=1伏时,E2=200伏,E3=100,000+470=约1伏。那么,E1= E4+E3 =1+1=2伏。所以输入音频电压应比没有负回授时大些。
其它
整流部分滤波网络里的电解电容器C27、C28是串联的,这两只电容器即使电容量相同,如果它们的漏电电阻不同,每一只电容器上所受到的电压也就不一样(受到的电压和漏电电阻成正比)。漏电电阻较大的先被打穿,随后,全部电压就加到另一只电容器上,接着也被打穿。因此,采用两只阻值相同的电阻R39、R40分别和C27、C28并联,使分配到两电容器上的电压相等,防止了电压偏高偏低的现象,使电容器不致打穿。R41、R42的作用和R39、R40相同,起到保扩C29、C30的作用。
R38是灯丝平衡电阻,当它的接地点调整得适当时,输出中的交流哼声最小。(陈治)
文章:youk [1970/01/01 19:07]
评论
