简易有线广播前置放大器
1970/01/01 19:07 点击:696 / 回复:0
农村有线广播站为了增大广播电力输送,以满足广大贫下中农的收听,在扩音机整机功率不能满足需要的情况下,往往要几台扩音机并用,才能达到需要的功率。但这样组合起来,常会因主机(担负推动组机任务)、外线或其他故障而影响整个组机的功率输出和音质;另外,由于耦合上不合理,会产生失真和反馈,而无法发挥组机的功率输出能力,同时操作也不方便。这一问题可能是很多广播站都会碰到的,我们采取用前置放大器推动的办法来解决。这里向大家介绍一种比较简单易制的前置放大器的制作方法,供大家参考。它可以推动功率3000瓦的组机。这部前置放大器在我县部分公社广播站使用多年,实践效果良好,很受群众欢迎,对我县办好农村有线广播起到了一定的作用。
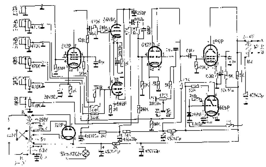
附图是这个前置放大器的电路。这个电路有以下几个特点:

1.末级输出的交流负载与直流负载是分开的,这样可以得到宽阔的频率响应。其所以有此优点,主要是由于输出变压器初级线圈串联了一个电容量合适的电容器,它的电容量选得使它与变压器初级线圈的电感串联谐振于某个甚低频率上,这样在低音频以下的频段上输出增强,从而消除了一般变压器输出时某个频段输出突然衰减而使输出信号波形失真的缺点。交、直流负载的分开,直流不通过输出变压器初级线圈,从而解决了单端输出的变压器铁心直流磁饱和的问题。这样可以改善频响又可充分发挥末级输出的能力;同时也简化了输出变压器的线圈交叉绕制和镶铁心的繁琐工艺。
2.末级输出用束射四极功率管,采用甲类低电压工作状态工作,这样既保证了输出音频信号的波形良好不失真,又满足了功率输出的需要。
3.在保证得到所需要的电压增益的情况下,采取屏极混合输出的方法。这样,可以减少整机的电子管,从而可省去防止自激而采用的负反馈电路;也简化了级间耦合电路。
4.6N8P双屏极混合输出电路中串接了一只100千欧的电阻,其作用是当送录音信号时防止6N8P屏极负载电阻对录音信号起分路作用而降低输入6N7P栅极的录音信号电压。
5.音调控制部分是采取屏极旁路衰减与阴极电流负反馈的方法,获得了较好的音调控制性能。当音调控制电位器滑臂调向“低音”一边时,电位器滑臂右边的电阻越来越小,6N7P输出的高音频信号通过0.01微法电容器、15千欧电阻及电位器部分电阻旁路到地。旁路得越充分,高音被削减越多,相对地提高了低音。同时也由于电位器接入阴极电路的电阻增多,使阴极电路对高音频的负反馈增加,也起到削减高音增强低音的作用。当电位器滑臂向“高音”一边调动时,情况与上述相反,
低音削减,高音提升。变压器的代用与制作数据说明如下。
1.B1是电源变压器,可以一般八脚管五灯交流收音机的电源变压器代用。如这部前置放大器改用小型电子管,则可改用配合小型管的五灯交流收音机的电源变压器,或自行设计绕制。
2.B2是前置输出变压器。可以定阻式25瓦线间变压器代用。其接法:0~1千欧作初级用;0~ 4欧作次级用。自己绕制效果更好。绕制数据是:铁心截面积为3.87平方厘米,初级用φ0.19毫米高强度漆包线绕1260圈;次级用φ0.78毫米漆包线绕48圈。
使用中要注意的问题
1.若使用时发生反馈啸叫现象,可将变压器B2的输出端A、B头对调,若再不能消除,可把各扩音机的输出端分别调头,反复几次调试。调好后固定下来。
2.本前置放大器有6路输入。每路都能独立控制输出信号强弱。在播音时要严格掌握各路输出旋钮,以免发生错播节目和串音事故。
3. 为方便操作起见,本前置放大器最好装在控制台上。(广东省紫金县人民广播站刘育灵)
文章:youk [1970/01/01 19:07]
评论
