声频功放大环路反馈存在的隐患的解决方法
1970/01/01 19:07 点击:801 / 回复:0
王齐祥
【提要】大环路负反馈声频功率放大器(简称功放)中的某些环节进入饱和状态时,在一定条件下,由负反馈形成的误差电压会驱使甲乙类互补对功率管瞬间全导通,从而危及到功放的安全.有必要采取措施防止这种事态发生。
随着音响技术的发展,声频功率放大器的技术已发展得相当成熟,尤其是大环路负反馈功放,其各项指标可以做得非常奸。例如失真、频响等指标都是各种开环电路所不可企及。但是,大环路也掩盖着一些重要的问题,诸如稳定性、瞬态响应速度等已为大家所重视。笔者在工作中发现,在一定条件下,电路进入饱和也会引起一些在表面上看不出的问题,需要深入环路内部进行探索。
一、问题的发现
有的大功率功放使用时会遇到下列异常现象:
如果系统发生声反馈啸叫,会导致功放的短路保护电路动作而进入保护状态,即使把保护电路的门槛调高许多(高于短路电流)也不能避免:有些功放还会因此而损坏;有的功放工作在削波状态时,即使负载开路,温升也会很厉害;在通频带高端加入大信号时温升异常;短路保护电路很容易动作……。
按常理,声反馈啸叫时,系统虽属满负荷,但由于削顶,功率管的损耗理应不十分过分,应不至于损坏;而短路保护门槛超量调高以后,正常满载电流应无由越过;负载开路时功率管几乎没有电流通道,没有理由引起异常的温升。据此,功放内部必有异常的、绕过负载的寄生通道才会发生上述现象。

为了证实是否存在异常的电流通道,我们检测功率输出级的射极电流,发现在饱和状态下,确有异常现象,其波形如图l所示。图中饱和线以上的尖峰表明,在退出饱和的瞬间,出现一个远大于饱和电流的尖峰;而在0线上的尖峰则说明即使在功率管截止期间也有大的尖峰电流发生。从相位上看,后者显然对应于互补对的另一只管退出饱和的时间。由此可见,功率互补对在退出饱和的瞬间,出现了全导通现象。在负载开路时也有这种全导通现象发生,其波形如图2所示。由此可见,正是由于输出互补对管的全导通,才导致短路保护动作和异常温升。

二、原因分析
为什么会出现互补对管全导通现象呢?。这应是大环路负反馈调节以及放大管基区电荷效应共同作用的结果。
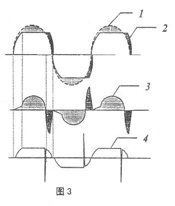
以正弦激励乙类推挽为例,功放进入饱和时(通常是末前级—推动级率先饱和),输出互补对的工作波形将如图3所示。图中曲线1为正弦激励信号。为便于讨论,首先假设大环路负反馈端尚未闭合,则由于基区电荷效应,放大管从饱和状态退出时,将会发生较为显著的时延,见图3中的曲线2。由此将形成误差电压3。闭环后,由于反馈调节作用,输出曲线2将逼近曲线1(饱和部分除外),结果加到互补对上的误差电压将如曲线4(其平坦的顶部是由于前级饱和形成的)。显然,误差电压4中的尖峰必将驱使互补对的另一端导通。本来该尖峰应使本端截止,但由于基区电荷效应而来不及截止,于是形成了互补对管全导通现象(在当前条件下,惟其如此调节才会有效)。当负载开路时,末前级仍然会饱和,所以仍然会在正半周出现负尖峰激励,而负半周会出现正尖峰激励。

如上所述,互补对全导通是由于功率管退出饱和时有显著的时延,逼使环路自我调节而发生的。因此,由各种原因引起的这一类时延都有可能引发类似效果。当工作频率较高时,速度相对较低的功率管就会发生这种现象。
三、解决办法
综上所述,要想解决互补对管全导通问题,可以从几方面来着手:
1.选用高速放大管,避免时延。
2.设法防止放大管进入深度饱和状态。例如在如下放大电路中,将推动级三极管的基极和集电极之间接入钳位二极管,以保证功率管不进入饱和状态(如图4)。图中基极上的二极管起电子转移作用,以保证功率管集电结不会正偏(二极管的速度和耐压须足够)。这对于现成的、有此种隐患的设备,不失为一种易行的权宜办法。

3.选用适当的功放电路。
例如,图5所示的输出级的饱和特性就会比图4好。这种电路形式是目前功放的主流放大电路,主要是由于它的输出对管的基极交流等电位,亦即驱动信号相同;而图4中的输出对管的基极驱动信号并不相同,它可能存在着由推动级传过来的全导通信号,故而会进入全导通状态。(这种电路的一个最大的优点是,由于功率管集电极全部接地,所以无须在功率管和散热器之间加绝缘片,这样会更有利于散热)。但是,如果图5中前级放大的供电比输出级供电高,驱动信号足以使输出管集电结正偏而进入饱和状态,则该电路亦会出现全导通现象。
4.解决互补对管全导通的办法还有很多,比如适当调整推动级的负载电阻,使之不易饱和:在三极管的驱动回路中加入加速电容来加速三极管退出饱和:在环路的前端加压限电路避免大功率级进入饱和…等等。
最后要说明的是,即使不存在输出管全导通问题的功放,功放的各级放大管也最好避免进入深度电压饱和,这对功放总是有利的。
文章:youk [1970/01/01 19:07]
评论
